Bei der Messung von Entfernungen oder Abständen gibt es optische und akustische (Echo-) Verfahren. Für den ESP32 bzw. RPi pico und micropython ist ein akustisches Verfahren leicht und preiswert realisierbar. Dafür gibt es vorgefertigte „intelligente“ Module, die einen Sender, einen Empfänger und eine Auswerteelektronik wie z.B. der HC-SR04 enthalten und dazu fertige micropython-Software-Module.
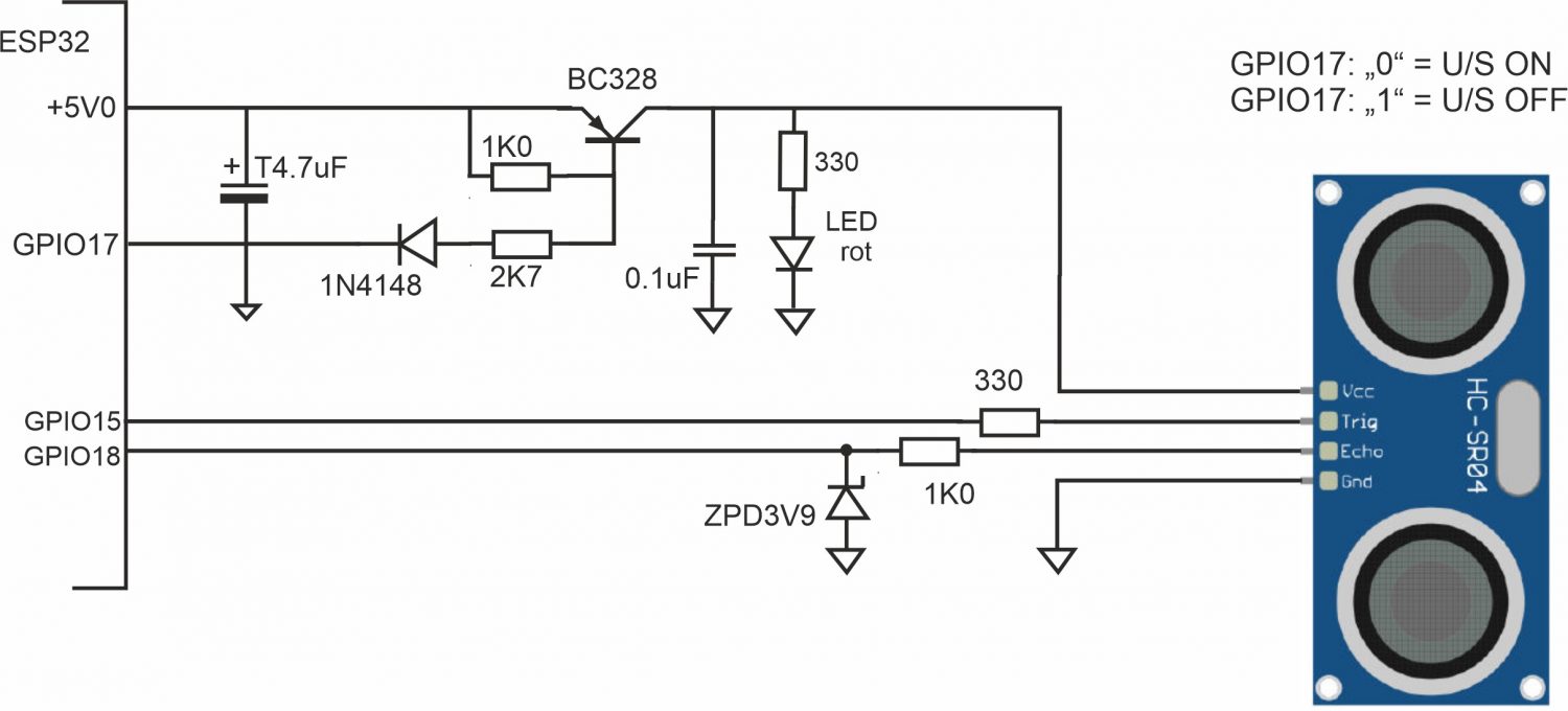
Bei einem Einsatz mit ESP32 oder RPi pico muss daran gedacht werden, dass der U/S-Modul als Betriebsspannung 5V benötigt, ein GPIO-Eingang aber max. 3.3V verträgt.
Benötigt man die Entfernungsmessung nicht durchgängig, ist es sinnvoll, die Betriebsspannung des Moduls auszuschalten. Nach dem Einschalten ist das Modul nach etwa 0.2 sec einsatzbereit.

Für eine Messung wird nach dem Trig-Puls ein akustisches Paket aus 8 Schwingungen mit ca. 40 kHz ausgesendet. Beim Eintreffen des Echos wird am Echo-Pin ein Impuls ausgegeben. Über die Laufzeit = Abstand von Start- und Echo-Puls und die Schallgeschwindigkeit in Luft (~330m/sec) lässt sich die Entfernung berechnen. Der Einfluss der Temperatur auf die Schallwellen lässt sich bei Bedarf mit einer Temperaturmessung korrigieren. Abgesehen davon, dass in der Software ein max. Wert der Entfernung vorgegeben werden kann, funktioniert die Messung bis zu einem Abstand von 4m erstaunlich stabil
Dieses Mess-Verfahren und der HC-SR04 wären gut geeignet für Aufgaben wie „Einparkhilfe in der Garage“, „Füllstandmessung in einem Behälter / Wasser im Keller“ oder ähnliches.